授权
-
舟山群岛之间,华为用服务建了座座温暖桥梁
华为mate70系列和mate x6折叠屏手机首销火爆,再次印证了华为在国内高端手机市场强大的产品力和品牌号召力。然而,华为的成功并非仅仅依靠优/ Q Q – f y …
-
天合光能:终止子公司天合富家分拆上市
天合光能终止控股子公司分拆上市计划 12月9日,天合光能发布公告,宣布终止筹划控股子公司天合富家能源股份有限公司(原名江苏天合智慧分布式能源有限公司)的上市事宜。 该决定是在公司董…
-
杰华特“漏电保护电路和方法”专利获授权
杰华特微电子近日获得一项关于“漏电保护电路和方法”的专利授权(授权公告号:cn108270195b,授权公告日:2024年10月29日,申请日:2018年2月10日)。该专利技术旨…
-
芯元基“一种复合衬底、半导体器件结构及其制备方法”专利获授权
上海芯元基半导体科技有限公司近日获得一项重要专利授权,专利名称为“一种复合衬底、半导体器件结构及其制备方法”(授权公告号:cn108281525b,授权公告日:2024年10月29…
-
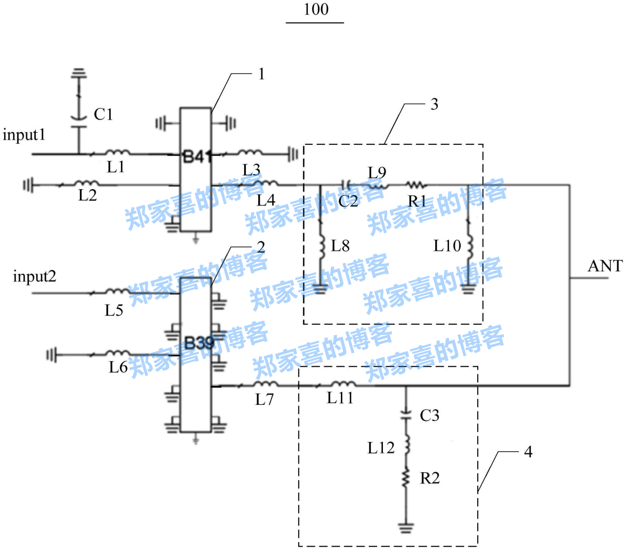
三年崛起的滤波器黑马:新声半导体荣获WICA两项大奖
国产滤波器厂商新声半导体,在竞争激烈的全球市场中异军突起。近日,新声半导体荣获“2024中国半导体新锐企业50强”和“2024中国国产滤波器行业年度最佳产品”两项大奖,彰显其三年来…
-
中科同帜“一种晶圆键合机”专利获授权
中科同帜半导体(江苏)有限公司近日获得一项关于“晶圆键合机”的实用新型专利(授权公告号:cn221927981u,授权公告日:2024年10月29日)。该专利h – N…
-
万集科技获颁5项发明专利,主要覆盖ETC和智能网联领域
万集科技喜获五项发明专利证书!12月4日,公司发布公告,宣布获得国家知识产权局颁发的五项发明专利,涵盖etc和智能网联领域。 这五项专利分别为: 车载单元的发行方法和系统、存储介质…
-
普利特一专利获授权,支持最大限度保存液晶聚酯纤维耐热等性能
普利特公司喜获发明专利授权!近日,普利特及其子公司收到国家知识产权局颁发的发明专利证书,专利名称为“一种用于制备低介电、高剥离强度pcb覆铜板的lcp液晶聚酯织物及其制备方法”。 …
-
深南电路“一种电路板切割余料的清除方法、系统及电路板”专利获授权
深南电路近日获得一项关于电路板切割余料清除方法的专利授权(授权公告号cn114585160b,授权公告日2024年10月29日,申请日2020年11月1H x E c8日)。该专6…
-
LG电子专利许可获利46亿元 百名员工获数百万美元奖励
lg电子专利授权收益达46亿人民币,百余员工获百万美元奖励! 据悉,LG电子凭借其专利授权业务,从苹果公司等企业获得巨额收益,并以此奖励了众多员工。这笔高达8900亿韩元(约合C …
-
技术点亮生活 旷视驱动智慧家庭生态创新
第26届中国建博会(广州)于7月8日盛大落幕,以“建装理想家,服务新格局”为主题,聚焦家居行业的焕新与创新。旷视科技在展会上大放异彩,全方位展示其aiot解决方案,尤其在智能门锁和…
-
理想汽车11月交付新车4.87万辆,今年累销44.2万辆
理想汽车11月销量再创新高,同比增长近两成! 理想汽车今日公布11月交付数据:新车交付量达48740辆,同比增长18.8%。截至11月底,2024年累计交付量已突破44万辆,达44…
-
拉普拉斯“双面电池增效的生产线”专利获授权
拉普拉斯(无锡)半导体科技有限公司近日获得一项关于“双面电池增效生产线”的实用新型专利(授权公告号:cn221928118u,授权公告日:2024年10月29日,申请日:2024年…
-
乐视:《甄嬛传》年度授权商品和服务 GMV 已达数亿元
2024乐视数字化营销合作伙伴大会于11月28日在上海举行,会上公布了《甄嬛传》ip的亮眼成绩:年度授权商品和服务gmv已达数亿元! 自2011年播出以来,《甄嬛传》这部经典古装宫…
-
飞骧科技“载波聚合电路及射频前端模组”专利获授权
天眼查显示,深圳飞骧科技股份有限公司近日取得一项名为“载波聚合电路及射频前端模组”的专利,授权公告号为cn221929860u,授权公告日为2024年10月29日,申请日为2023…
-
VIVO“电子设备”专利获授权
天眼查显示,维沃移动通信有限公司近日取得一项名为“电子设备”的专利,授权公告号为CN115394195B,授权公告日为2024年10月29日,申请日为2M w +022年8月29日…
-
艾为荣获ISO56005《创新与知识产权管理能力》三级证书,相关项目接轨国际先进水平
1. 近日,艾为电子荣获 iso56005《创新与知识产权管理能力》三级等级证书,成为上海市首家获此殊荣的企业,也是集成电路行业内首家取得该成就的公司。 2. ISO56005《创…
-
胖东来商贸集团:多账号未经授权用 AI 生成于东来声音、非法剪辑和篡改视频、发布误导性文案,严厉谴责
本站 11 月 24 日消息,胖东来商贸集团今日发布声明,对“多账号未经授权用 ai 生成于东来声音、非法剪辑和篡改视频、发布误导性文案”一事表示严厉谴责。本站附声明原文如下:亲爱…
-
理想宣布增程车销量突破100万辆,这款车型占比1/4
重写后的文字: 11月19日,理想汽车宣布,其增程车累计销量突破100万辆。 其中,理想ONE交付超过21万辆。 理想L9交付超过23万辆。 理想L8交付超过20万辆。 理想L7交…
-
智芯微“时间敏感网络测试方法及测试床、存储介质”专利获授权
天眼查显示,北京智芯微电子科技有限公司近日取得一项名为“时间敏感网络测试方法及测试床、存储介质”的专利,授权公告号为cn115834430b,授权公告日为2024年1. o d 4…
-
特斯拉明确表态:FSD入华授权上汽消息不实
凤凰网科技讯 11月18日,此前有消息称特斯拉fsd入华后授权上汽做robotaxi,特斯拉与上汽已经沟通了两轮,但最后定论和细节还没有明确消息。对此,特斯拉回应凤v ? Q B …
-
特斯拉中国:未与上汽讨论FSD授权
1. 11 月 18 日,財聯社報導,針對特斯拉 FSD 授權上汽進行兩輪討論的消息,特斯拉中國回應稱,該消息不實。此前有傳聞稱,特斯拉 FSD(完全自動駕駛)進入中國後將授權上汽…
-
超声波指纹市场发展迅速,光学龙头欧菲光或将受益
编者按:本文发布于解码财报,集微网经授权转载。 欧菲光披露 2023 年三季报,前三季度营收 144.72 亿元,同比增长 33.76%;归母净利润 4,711.92 万元,同比增…
-
华海清科“一种化学机械抛光系统及抛光方法”专利获授权
天眼查显示,华海清科股份有限公司近日取得一项名为“一种化学机械抛光系统及抛光方法”的专利,授权公告号为cn115194640b,授权公告日为2024U J ; s z 9 J a年…
